2019年度新经销商招募公告
在未来,领途汽车的战略是更精准的定位市场,聚焦明显产品,优化经销商网络,进一步满足尊贵客户的需求。我们将继续完善领途汽车经销商网络,VGIC诚邀经销商投资伙伴加盟申请空白及具有较大市场潜力的市场,并期待与各位新经销商精诚合作,共谋发展。 如您有意成为我们的合作伙伴,欢迎点击本页下方的单元列,了解招募流程、开放城市、申请要求及申请方式。
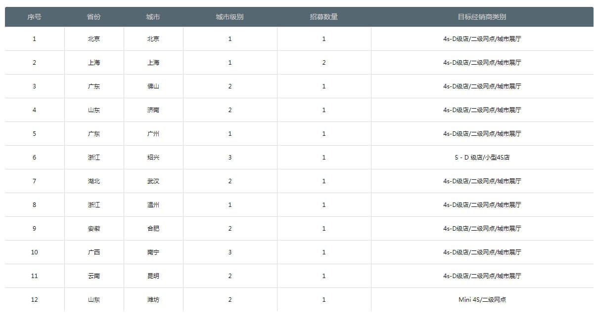
开放城市
招募流程
2017年度新经销商招募流程
VGIC将本轮经销商招募的开放城市名单在官方网站发布; VGIC网络部通过官方邮箱接收意向申请人提交的申请文件; 对收到的申请方案进行初步审查; 对合格的申请方案进行实地考察,并与申请人面谈; VGIC网络部对申请方案进行综合评估和审核; 与通过方案审核的申请人签署谅解备忘录或建店意向书。
申请要求
2017年度新经销商招募申请要求
1. 行业经验: 具备汽车零售行业销售和服务经验; 有高端品牌运营经验,且业绩良好,将被优先考虑; 充分了解当地高端汽车消费市场。 2. 拟建土地: 能够提供符合领途汽车网点运营要求的场地; 请参考“资料下载”部分 的相关内容。 3. 投资数额: 申请者具有健康的财务状况和良好的资金储备,能够为领途汽车新网点提供充足的建设和运营资金。 4. 管理团队: 申请者具有丰富的人员储备,有能力按照领途汽车的要求配备合格的经营管理团队。
申请方式
请按要求填写“资料下载”部分中的申请文件(附件1),并留意以下事项:  作为本次招募的官方邮箱,是接收申请的唯一渠道。 注册编码发出以后,申请中的土地方案将不可更改,否则该申请将立即失效。 在截止日期之前,对收到三个申请的任一城市,VGIC将启动此城市的筛选流程。 任何欺诈或腐败(包括赠送任何礼物)的行为将导致相应申请立即失效。 诚挚的期待您的关注。如果有任何问题,请联系我司经销商招募负责人: 电话:   邮箱:   
资料下载
资料下载
经销商合作申请表

服务与支持+

预约试驾

售后服务

联系我们+

Tel:400-007-9307

地址:无锡市惠山区前洲街道北洲路88号

客服中心

周一至周五 8:00-17:00

Copyright © 2019 领途汽车商用车事业部 All rights reserved